當鋼結構廠房鋼屋蓋以平面桁架作為主要承重構件時,各個平面桁架(屋架)要用各種支撐及縱向桿件(系桿)連成一個空間幾何不變的整體結構,才能承受荷載。這些支撐及系桿統稱為屋蓋支撐。
它由上弦橫向水平支撐、下弦橫向水平支撐、下弦縱向水平支撐、垂直支撐及系桿組成
9.4.3)。下面分別介紹各類支撐及系桿的位置、組成、形式及計算和構造。
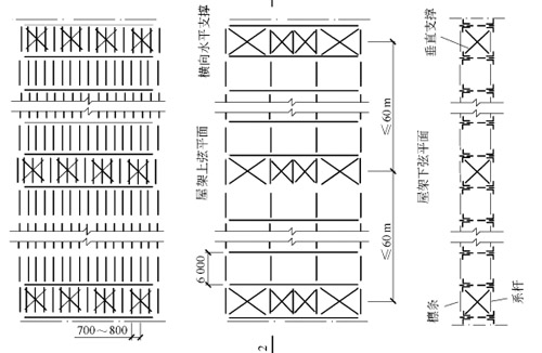
1.上弦橫向水平支撐
上弦橫向水平支撐一般布置在屋蓋兩端(或每個溫度區段的兩端)的兩榀相鄰屋架的上弦桿之間,位于屋架上弦平面沿屋架全跨布置,形成一平行弦桁架,其節間長度為屋架節間距的2~4倍。
它的弦桿即屋架的上弦桿,腹桿由交叉的斜桿及豎桿組成。交叉的斜桿一般用單角鋼或圓鋼制成(按拉桿計算),豎桿常用雙角鋼的T形截面。當屋架有檁條時,豎桿由檁條兼任。
2.下弦橫向水平支撐
下弦橫向水平支撐布置在與上弦橫向水平支撐同一開間,它也形成一個平行弦桁架,位于屋架下弦平面。其弦桿即屋架的下弦,腹桿也是由交叉的斜桿及豎桿組成,其形式和構造與上弦橫向水平支撐相同。橫向水平支撐的間距不宜大于60 m,當溫度區段長度較長時,應在中部增設上下弦橫向水平支撐。
3.下弦縱向水平支攆
它位于屋架下弦兩端節間處,位于屋架下弦平面,沿房屋全長布置,也組成一個具有交叉斜桿及豎桿的平行弦桁架,它的端豎桿就是屋架端節間的下弦。下弦縱向水平支撐與下弦橫向水平支撐共同構成一個封閉的支撐框架,以保證屋蓋結構有足夠的水平剛度。
一般情況下,屋架可以不設置下弦縱向水平支撐,僅在房屋有較大起重量的橋式吊車、壁行吊車或鍛錘等較大振動設備,以及房屋高度或跨度較大或空間剛度要求較大時,才設置下弦縱向水平支撐。此外,在房屋設有托架處,為保證托架的側向穩定,在托架范圍及兩端各延伸一個柱間應設置下弦縱向水平支撐。
4.垂直支撐
垂直支撐位于上、下弦橫向水平支撐同一開間內,形成一個跨長為屋架間距的平行弦桁架。它的上、下弦桿分別為上、下弦橫向水平支撐的豎桿,它的端豎桿就是屋架的豎桿(或斜腹桿)。垂直支撐中央腹桿的形式由支撐桁架的高跨比決定,一般常采用W形或雙節間交叉斜桿等形式。腹桿截面可采用單角鋼或雙角鋼T形截面。
跨度小于30 m的梯形屋架通常在屋架兩端和跨度中央各設置一道垂直支撐。當跨度大于30 m時,則在兩端和跨度1/3處分別共設四道。一般情況下,跨度小于18 m的三角形屋架只需在跨度中央設一道垂直支撐,大于18 m時則在1/3跨度處共設兩道。
5.系桿
在沿廠房縱向每間隔4~6個屋架應設置垂直支撐,以保證屋架安裝時的穩定性。系桿在未設橫向支撐的開間,相鄰平面屋架由系桿連接。系桿通常在屋架兩端,有垂直支撐位置的上、下弦節點以及屋脊和天窗側柱位置,沿房屋縱向通長布置。系桿對屋架上、下弦桿提供側向支承,因此必要時,還應根據控制這些弦桿長細比的要求按一定距離增設中間系桿。對于有檁屋蓋,檁條可兼作系桿。
系桿申只能承受拉力的稱為柔性系桿,設計時可按容許長細比[A] =400(有重級工作制吊車的廠房為350)控制,常采用單角鋼或張緊的圓鋼拉條(此時不控制長細比);能承受壓力的稱剛性系桿,設計時可按[A] =200控制,常用雙角鋼T形或十字形截面。一般在屋架下弦端部及上弦屋脊處需設置剛性系桿,其他可設柔性系桿。
當房屋兩端為山墻時,上、下弦橫向水平支撐及垂直支撐可設在兩端第二開間,這時第一開間的所有系桿均設為剛性系桿。當房屋長度大于60 m時,應在中間增設一道(或幾道)上、下弦橫向水平支撐及垂直支撐。
鋼結構屋蓋支撐因受力較小一般不進行內力計算。其截面尺寸由桿件容許長細比和構造要求確定。交叉斜桿一般按拉桿控制,容許長細比與柔性系桿相同。非交叉斜桿、弦桿等按壓桿[A]=200控制。對于跨度較大且承受墻面傳來很大的風荷載的橫向水平支撐,應按桁架體系計算內力選擇截面,同時亦應控制長細比。
具有交叉斜腹桿的支撐桁架可按圖9.4.4所示計算簡圖計算。在節點荷載F的作用下,圖中每節間僅考慮受拉斜腹桿工作,另一根(虛線所示)斜腹桿則假定它因屈曲退出工作(偏安全),這樣桁架成為靜定體系使計算簡化。當荷載反向時,兩組斜桿受力情況怡好相反。
圖9.4.4支撐桁架桿件的內力計算簡圖屋蓋支撐的構造應力求簡單、安裝方便。其連接節點構造如圖9.4.5所示。